6. 视觉辨认
这里又出现了视觉辨认,是不是同以前的说法不一致了呢?我在前面固然说过、在二维国里,各种图形统统表现为直线,但这并不意味着用视觉就不能辨认形体。现在我就来向三维世界的批评家们说明我们是怎样用视觉来相互辨认的。
如果读者们再费心看一下前面所说的内容,就会发现那里说的是低等阶层中的情况。在高等阶层中,以及在温带地区,人们是借助视觉实现辨认的。各个地区和各种阶层的人们之所以能靠视觉进行识别,是因为有雾的缘故。这种雾在一年中的大部分时间里遍布除热带以外的所有地区。若在三维世界,雾对你们来说是不折不相的坏事,它会遮蔽景观、压抑情绪,并且有碍健康。可雾对于我们却不亚于空气那样重要;它堪称艺术之保姆,科学之母亲。我还是别忙着唱颂歌,先讲清我的意思吧。
如果没有雾,我们看到的会只是清一色的长短直线,根本无法进一步区分 —— 在气候干燥大气澄彻的地方也的确是这种情况。而在多雾地区,物体在一定距离外,比如三英尺远处,看起来就会比两英尺处显得暗淡些。因此,只要经常进行物体明暗程度的仔细观察,就能非常精确地辨认出一个个物体来。
一个例子会比一大堆泛泛之论讲得清楚明白。这里就通过例子解释一下。
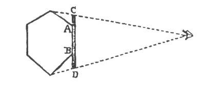
设想有两个人向我走来,我想确知他们的身份。如果他俩一个是商人,另一个是医生;换句话说,一个是等边三角形,另一个是五边形,我将怎样辨认出他们来呢?
对于三维世界的孩子,只要学过一点儿几何知识,这个问题就是显而易见的。如果我的目光能等分开向我走来的陌生人所张的角度(A),我就正处在距他挨近我的两个边(即CA和AB)都不偏不倚的地方,我就能看到这两条边是等长的。
现在来看商人,如图3(1)。我能看见什么呢?能看到一直线DAE,这条直线的中点(A)离我最近,所以看起来很亮,但从A点到两端的两段线会随着它们很快隐人雾中而变得暗淡起来,我所能看到的三角形的两个端点,即D和E,实际上就非常之模糊了。
另一方面,对于图3(2)所示的医生,虽然我也只看见一条直线(D'A'E'),它的中点(A')也是亮的,它的两个边(A'C'和A'B')也是逐渐变暗的,但它们向雾中隐入得不那么快,因此我看到医生的两个端点D'和E'也不如商人所对应的那两个端点那么模糊。

由这两个例子,读者们大概会明白,那些有知识的人凭借自己的学识,再加上长期的实际训练,是能够很准确地用视觉辨识中、低阶层的人们的。如果你们 —— 我的三维世界的读者们 —— 已经掌握了这个一般概念,至少就会认识到这样做的可能性,而不会认为这一切是不可思议的了。这也就达到了我讲这段话的目的。不过,如果让我进一步解释其中的细节,那我只得知难而退了。年轻而缺乏经验的人,可能会觉得 —— 根据前面我讲的两个简单的例子 —— 用上述方法也能容易地辨认出我的父亲和我的儿子,那我就必须指出,在实际生活中,大多数视觉辨认要比上述情况细致复杂得多。

例如,当我的父亲(一个三角形)走近我时,很可能会以一条边而不是一个角正对着我,这时我就得让他转一转身,或者我自己围着他兜上几步路,才能把他分辨出来,否则,此时我会怀疑我看到的是一段直线,或者说是一位妇女。再有,当我的一个孙子(六边形)陪着我时,他的一个边(AB)会直对着我,从图4中可以清楚地看出,在我看来他只是一条整个都比较明亮的、即使在两端也不怎么变模糊的直线(AB),再一边接上一段短短的暗淡的线段(CA和BD),而后两条线段的端点C和D是较模糊的。
在我们这里,有教养的人在生活中有一个重要内容,就是运用他们的名牌大学里从著名教授那里学到的几何学的丰富知识 —— 有两种几何学,静止几何学和运动几何学 —— 用眼睛辨认出其它有地位者的角度。由于辨认者自己是在运动的:或旋转,或前进,戎后退,被辨认者可能人数众多,又都可能同时朝各个方向运动着,进行辨认实在是不容易。对此,就是三维世界里最卓越的数学家也是会相信的。但是我这里不准备再谈了。
只有极少数的最显赫最富有人家的子弟,才有时间和金钱全面学习这项高尚而重要的艺术。甚至连我这个名望不低的数学家,又是两个很有出息的完全规则的六边形的祖父,一旦置身在地位更高的一群转动的多边形中间,有时也会感到十分窘迫呢。当然,普通的商人或者贫民,一旦置身于这种环境中,就会像你们 —— 尊敬的读者们 —— 一旦来到我的国家时一样地困惑和迷悯。
置身于这样的一群人之中,你会看到周围都是线,而且看上去都是直的,在这些线的各个部分上,明暗强度又都不断地无规则地变化着。即使你在大学的五边形班和六边形班里学满了三年,出色地掌握了这方面的理论,也会感到还需要经过多年实践,才能在上流社会的人群中走动而不致撞上人,而这些人又把别人的触摸看成是十分无礼的举动。由于他们有较高的文化修养,因此了解你的一切动作,而你对他们却了解甚少,或几乎是一无所知。总之,要在多边形社会里应付裕如,自己就得是个多边形。这至少是我亲身痛苦经历的总结。
说来也许令人惊奇,这种视觉辨认艺术有时简直可以说是成了本能,这主要靠反复实践和避免触摸培养成的。这正如你们三维世界中的聋哑人,一旦学会了正规的哑语,就再也无法掌握凭口形识别正常人的语言这门更重要更困难的技术一样。对于我们,“看”就同这一情况一样,一旦在小时学了触摸法,“目识术”就再也学不到家了。
因而,在高阶层人士中,触摸术是不受鼓励的,甚至干脆遭到禁止。他们的孩子自幼不是进公立小学读书(那里教授触摸术),而是被送入专门的高级学习班。在我们的最高学府里,触摸动作被视为严重的过失,初犯者受停学处分,再犯者予以除名。
但是,在那些低等阶层,视觉辨认术被看作是可望而不可及的东西。一个普通的商人是不可能拿出巨款让儿子花掉三分之一的时间去从事这种抽象问题的研究的。由于穷人家允许孩子从小对人进行触摸,因而在早年,他们若与多边形阶层的那些刚受到一半教育的孩子所表现的迟钝,不成熟和行事拘谨相比,就更显得成熟、活泼而讨人喜欢。可是当多边形的孩子最后完成了大学学业,并把他们学到的理论知识应用于实践时,他们表现出来的巨大变化却几乎可以说是一种新生;他们在文学、科学和社会学等各个方面,都会很快把三角形竞争对手远远抛在后面。
在大学里,会有极少数多边形子弟不能通过毕业考试,这少数落伍者确实可怜:上层社会会把他们拒之门外,低阶层的人也瞧不起他们。他们既没有多边形学士或文科硕士那种靠系统训练培养起来的成熟才干,也没有青年商人的那种天生的熟稔灵活和多才多艺。各种脑力劳动和国家公职也一概同他们无缘。虽然大部分地区并不明令禁止他们的婚姻权利,然而,他们也很难找到合适的伴侣。经验表明,那些不幸的无才华的父母所生育的后代可能会是不规则多边形,至少也是些不幸的人。历史上的骚乱和暴动,正是从这些出身贵族阶层的落难子弟中得到领袖的。这样的大错误使一些较进步的政治家提出,真正的仁慈总是完全的斩草除根。他们主张制定法令,把所有没有通过大学毕业考试的人,或者判处终身监禁,或者用安乐死的方式把他们从肉体上消灭。目前,这种人虽为数不多,但比例却正在上升。
我已经离开话题,谈到不规则图形上面去了。这是一个极为重要的问题,需要专门用一节的篇幅讲一讲。